【化工仪器网 市场商机】 北京工商大学坐落于北京市,是北京市重点建设的高水平研究型大学,是一所理、工、经、管、文、法、艺等学科相互支撑、协调发展的多科性大学.截至2021年12月,北京工商大学拥有2个国家级检测中心、1个国家工程实验室、4个北京市重点实验室、1个环保部重点实验室等众多科研单位。
近日,北京工商大学就“科技创新服务能力—畜产品加工与资源功能化利用”项目发布公开招标公告,预算金额为170.55万元。该项目的潜在投标人应在北京市政府采购电子交易平台获取招标文件,并于2023-05-16 14:00(北京时间)前递交投标文件。
项目基本情况
项目编号:11000023210200045340-XM001
项目名称:科技创新服务能力—畜产品加工与资源功能化利用
预算金额:170.55 万元(人民币)
最高限价:170.55 万元(人民币)
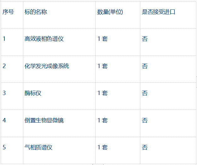
采购需求:

详见招标文件《第五章采购需求》。
合同履行期限:按招标文件要求
本项目不接受联合体投标。
申请人的资格要求
1.满足《中华人民共和国政府采购法》第二十二条规定;
2.落实政府采购政策需满足的资格要求:
本项目不专门面向中小企业预留采购份额。
3.本项目的特定资格要求:
3.1本项目是否接受分支机构参与投标:否
3.2本项目是否属于政府购买服务:否
□是,公益一类事业单位、使用事业编制且由财政拨款保障的群团组织,不得作为承接主体。
3.3其他特定资格要求:/。
获取招标文件
时间:2023-04-25 至 2023-05-04 ,每天上午08:30至12:00,下午12:00至16:30(北京时间,法定节假日除外)
地点:北京市政府采购电子交易平台
方式:
线上获取
1.潜在投标人从 “北京市政府采购网”或“中国政府采购网”网站下载供应商信息采集表,并在获取招标文件截至时间前,将供应商信息采集表发至邮箱。
2.办理CA数字认证证书(北京一证通数字证书),详见北京市政府采购电子交易平台查阅“用户指南”—“操作指南”—“市场主体CA办理操作流程指引”,按照程序要求办理。
3.于北京市政府采购电子交易平台“用户指南”—“操作指南”—“市场主体注册入库操作流程指引”进行自助注册绑定。
4.招标文件获取方式:投标人按照规定办理CA数字认证证书(北京一证通数字证书)后,自招标公告发布之日起持投标人自身数字证书登录北京市政府采购电子交易平台免费获取电子版招标文件。
5.电子版招标文件下载时间:2023年04月25日08:30至2023年05月04日16:30。
6.未按上述获取方式和期限下载招标文件的投标人,无资格参加本次投标。
7.证书驱动下载:
于北京市政府采购电子交易平台“用户指南”—“工具下载”—“招标采购系统文件驱动安装包”下载相关驱动。
注意:本项目政府采购采用电子化招标(线上线下相结合形式),请投标人认真学习北京市政府采购电子交易平台发布的相关操作手册。
售价:¥0 元,本公告包含的招标文件售价总和
提交投标文件截止时间、开标时间和地点
2023-05-16 14:00(北京时间)
地点:北京市海淀区阜成路33号北京工商大学西校区小二楼208
公告期限
自本公告发布之日起5个工作日。






