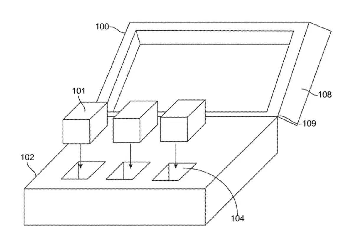
3 月 18 日消息,根据美国商标和专利局公示的清单,苹果公司近日获批了编号为 US 20230080598 A1 新专利。该专利主要为各种类型的无线充电器制造配件盒。
苹果表示近年来无线充电市场得到了快速发展,但目前市场尚未规范,可能使用不同的无线充电标准。这就导致用户在出行的时候,不得不携带多种类型的无线充电器。
IT之家从专利中获悉,苹果公司所设计的这款配件盒可以容纳一种或者多种类型无线充电器,在内部通过磁性连接等方式连接,可以给数码设备进行充电。用户只需要将 iPhone 等手机或者 AirPods 等耳机放在充电盒的指定位置,就能给使用不同标准的产品进行无线充电。






