工采网代理的霍尔传感器芯片 - MS1820是一款可编程线性霍尔传感器电路,输出为与电源无关的模拟输出。可以应用于磁场测量,电流测量以及机械运动检测等,也可以用来检测精准的角度或者距离。主要的特性比如磁场范围、灵敏度、失调电压以及温度系数都可以在一个非易失的存储单元进行编程。MS1820提供了一个客户数据寄存器来存储一些产品信息(比如产品系列数据)。

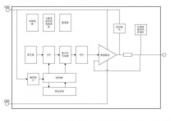
该传感器包括一个温度补偿的霍尔单元、斩波模块、一个AD转换器、DSP、一个具有重写及锁定功能的 EEPROM、一系列为编程设计的模块、一个比例型线性输出以及一些保护电路。内部DSP能够补偿模拟失调,温度改变,机械压力,从而获得高的性能。
MS1820可以通过电源电压来进行编程。不需要额外的编程脚。可以简单的采用2点法来校准输出信号对输入信号的响应。可以让客户对每个传感器进行单独调整。这样可以最终补偿磁极和机械方面的特性。 另外,霍尔芯片的温度补偿可以通过调整灵敏度的一阶和二阶温度系数来满足大部分磁性材料的特性。这样可以实现在整个工作温度范围内都能保持很高的精度。
主要特点:
· 正比于磁场大小的模拟输出,输出电压不受电源影响
· 多种磁特性参数可编程,温度补偿,失调电压补偿
· 连续测量范围从±20mT到±160mT
· 温度特性可编程,可匹配所有常见的磁性材料
· 通过供电电源编程,提供EEPROM锁定功能
· 工作电压4.5V到5.5V,轨到轨输出,带宽20Khz
应用:
· 线性位置测量
· 角度传感器
· 距离测量
· 磁场和电流测量
内部框图:

